|
|
|
|
Project history
The design ideas arose in the Eighties. The starting point was the task to develop a successor to a Z80-based multiprocessor system. Existing software had to be retained. So a transition to one of the then-contemporary 16-bit microprocessors was not feasible. A more detailed analysis had shown that only a few functions had to be accelerated. Extending the basic Z80 system by a control storage instead of designing a microprogrammed accelerator was a spontaneous idea.
License conditions
The technical solutions communicated here can be used freely (open-source hardware / open-source software). The terms of the CERN Open Hardware License Version 2 – Permissive apply. Functionality, suitability for any purpose, and freedom from other property rights cannot be guaranteed. The license terms – together with more detailed explanations – can be found at the following Internet addresses:
https://www.ohwr.org/project/cernohl/wikis/home
https://www.ohwr.org/project/cernohl/wikis/Documents/CERN-OHL-version-2
https://ohwr.org/cern_ohl_p_v2.pdf
For the curious
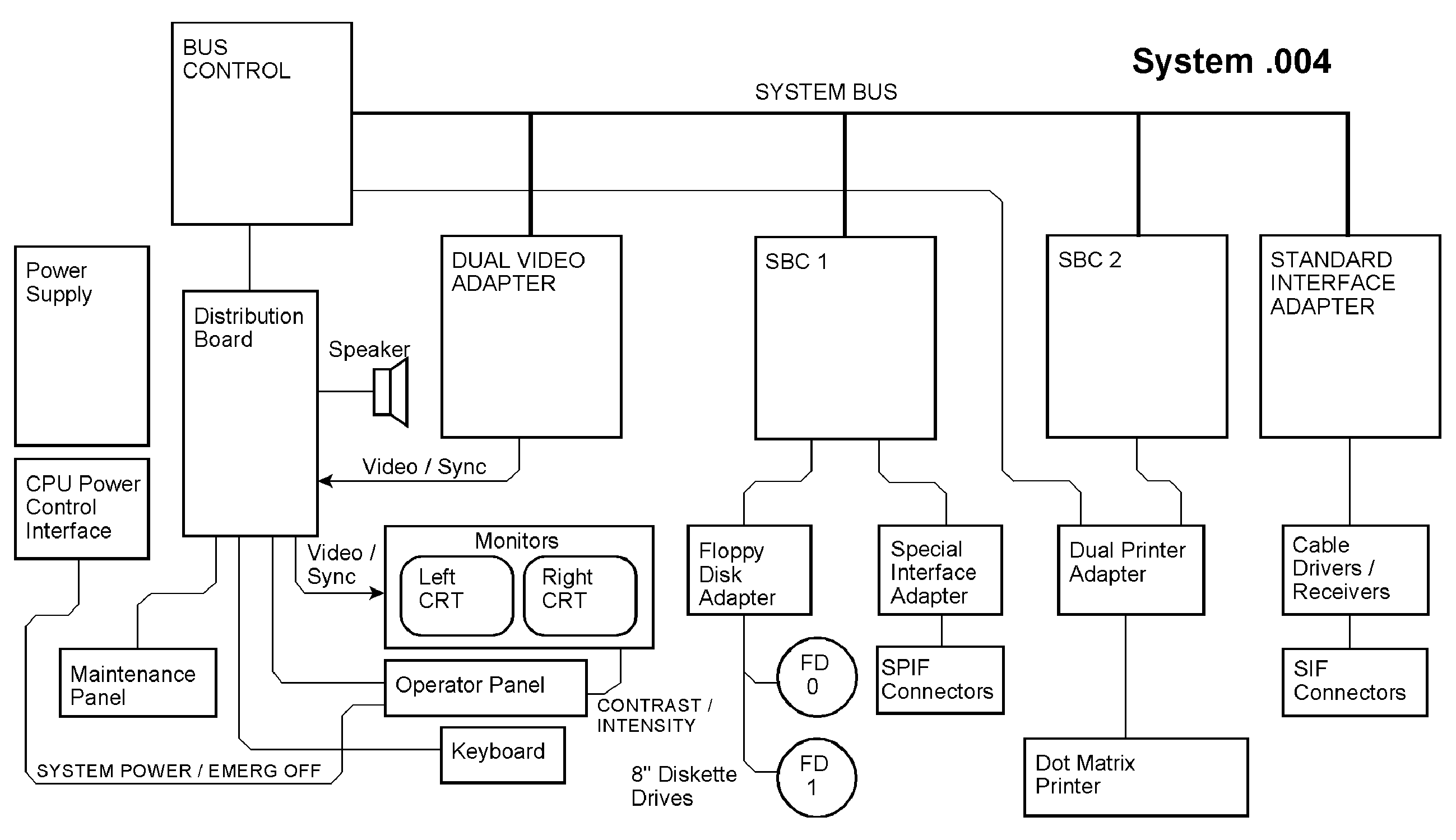
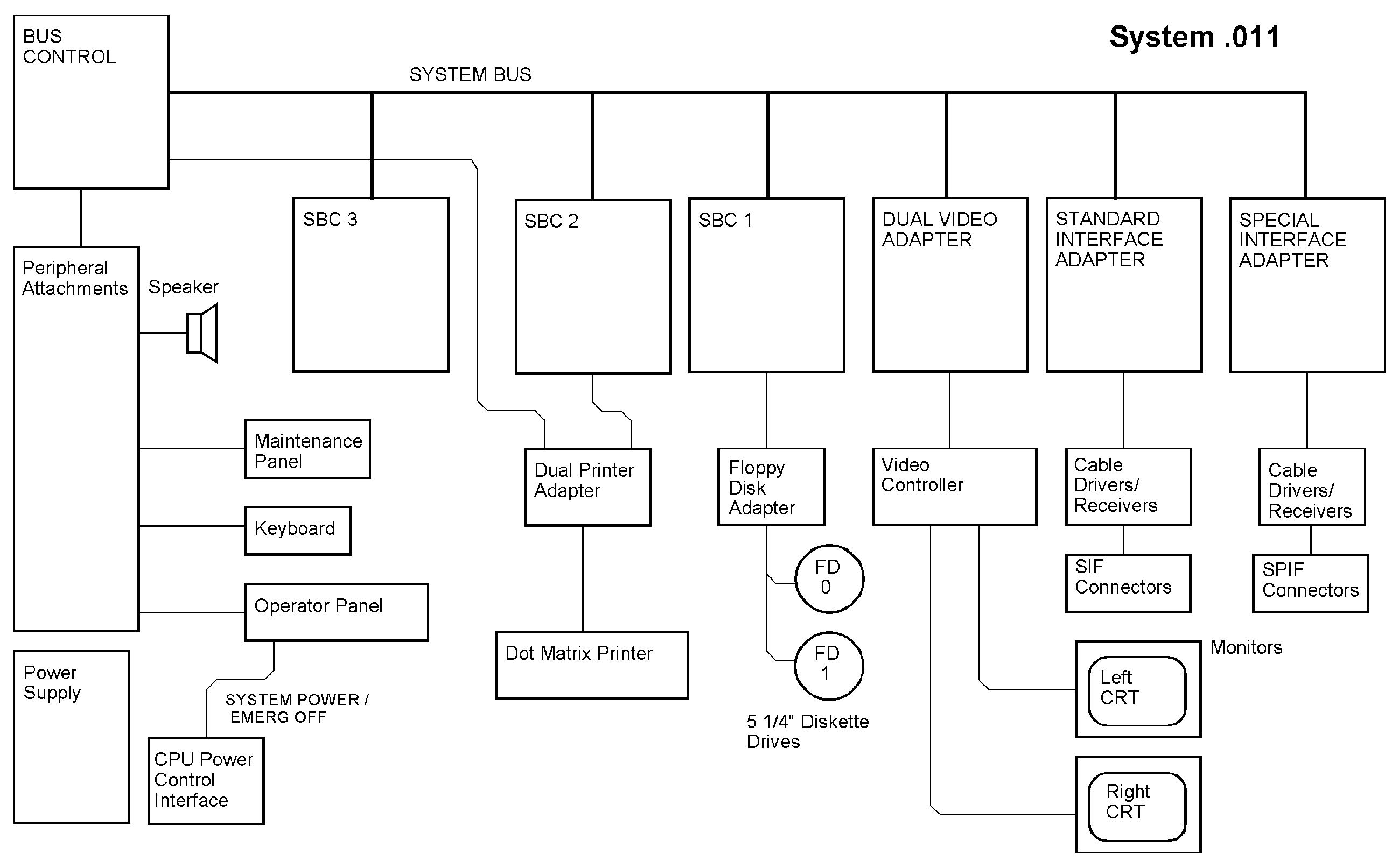
These excerpts of marketing pics from the past show two machines in which some of the described design ideas have been implemented. In my private nomenclature, the machine to the left is the system .004, the machine to the right is the system .011, the latter containing most of the circuits described in [4] to [8] and in the synopsis.

The system .004 block diagram

Download as PDF
The system .011 block diagram

Download as PDF
Begin Back References
|
|
|
|
September 26, 2022
Download the Internet Addendum to the CC article
Download a short synopsis concerning the theory of operation

Download chapter 7. Yes, it is in German. However, an Internet translator should do it.
Download three short papers written in the Eighties (under frugal conditions with modest equipment). The examples refer to the Z80 microprocessor.
Memory Combines Parity Checking with Program Tracing Support
Additional Control Memory Improves Performance of Low-Cost Microprocessors
Hardware Support for Testability, Debuging, and Better Performance
Download a synopsis of (more or less) tricky circuitry to be attached to microprocessors, written (of course in German) in the Seventies and Eighties
Download an excerpt from this book (in German, despite the title):

|