|
|
|
|
Cores or resources?

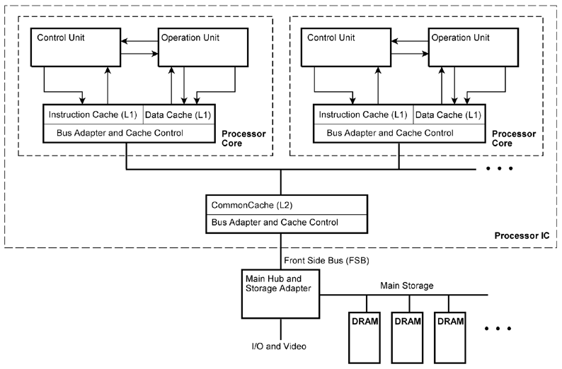
This block diagram shows
a very basic processor core. A processor
is an autonomous state machine. The next
state depends on the current memory content.
However, a word in memory can influence
the state transition only if it is selected
by an instruction or data address, respectively.
To take advantage of multiple cores, they
must not only be supplied with work (parallelization),
but it is also necessary to coordinate the
particular programs running (synchronization).
Synchronization means to observe and modify
the stream of instructions from outside
of the processor core. The problem is to
find appropriate points of intrusion.

1
- read and modify the memory content. The
memory needs two access paths. This method
will cost either time (multi-master bus
system or another kind of memory arbitration)
or silicon real estate (dual-port organization).
The latencies are high, because modified
memory words will be effective only if addressed
by the program.
2 - read the instruction
address and enforce the execution of appropriate
instructions. The former can be done with
comparator circuitry, the latter by triggering
interrupts, inserting instruction addresses
and the like. To work effectively,
the machine must have no pipelines, especially
no extraordinarily deep ones.
3 - signal conditions
to and evaluate conditions from other cores.
The circuitry is simple, but requires special
instructions. The latencies are comparatively
high.
When some cores have to
do much and the other little, the system
is not evenly loaded. There are numerous
proposals to do something useful with unemployed
cores, like executing instructions speculatively
or using their memory capacity as some kind
of cache extension. However, such countermeasure
will be effective only with a certain probability.
If they are not effective, they are basically
wasting machine cycles and hence power.
Power
avoiding unnecessary signal
transitions, too. A true optimum solution
would be a machine whose cycles contribute
exclusively to compute the desired final
results (efficiency
of implementation).
it
always
processor?
The basic alternative:
the internal loop of instruction addressing
and fetching will be broken. Software does not
synchronize autonomous state machines. Instead,
it will control a fabric of comparatively
basic resources, like arithmetic logic units
and address calculation units.
.



In a conventional
storage hierarchy, the instructions will
cause variables to be moved around (from the
general purpose register file into the hardware
registers and back, from the caches into the
general purpose register file and back). This
will cause transients on signal lines and hence
power consumption. In a ReAl machine, variables
and control codes reside within the processing
resources. Only results are to be forwarded.
It's time to try out something really new . . .
Contemporary processor architectures are based on principles developed in the seventies and eighties.
In those times hardware was scarce. All design decisions (which architectural ideas are to be
implemented and which not) had to consider the limits of technology (like maximum number of
transistors, available silicon real estate and so on).
Today's semiconductor technology, however, is able to provide more than one high-performance
processor core on a single piece of silicon.
In our opinion, the progress of semiconductor technology should be used not
only to implement processor cores of well-known
vintage, but also to try out something radically
new . . .
What about further development of conventional processor architectures? - Such attempts could be
successful, of course. But . . . In real life, the performance has been enhanced mainly by means of
technology (more transistors, more GHz, smaller geometries and so on). Only a few architectural ideas
have had a true decisive influence. The miracles are done by the silicon, by the compilers, and by the
algorithms. Compared to technology, the majority of architectural improvements have only modest
effects.
- Many transistors and high clock frequencies compensate for architectural quirks.
- As programming relies mostly on high-level languages, no system or application programmer cares
about the elegance of the programming interface between hardware and software (in other words, the
instruction set).
Hence we will pursue another approach. The principal hypothesis could not be more simple: There will
always be enough . . .
- Hardware does not matter.
- Memory capacity does not matter.
- Hardware requirements for machine program generation (for example, by compilation) do not matter.
Our basic paradigm:
If we want to do something, we will fetch an appropriate piece of hardware out of a magazine (like a
hammer to drive in a nail or a wrench to fasten a nut) and use it to perform the information processing
task to be executed. If we want to add two numbers together, we take an adder, if we want to compare
two values, we take a comparator and so on. A piece of hardware which has done its duty will be
returned to the magazine. We will take as many tools as we need, for example 50 hammers if 50 nails
are to be driven in, or 50 adders if 50 pairs of numbers are to be added together.
Our architectural definition is based on a set or pool of resources which can execute certain operations
with data of certain types. This constitutes basically an algebraic structure. Hence the name ReAl =
Resource-Algebra. The basic model of a resource is a hardware unit (like an adder or a universal ALU)
performing certain information processing operations.
The ReAl architecture is based on the following principles:
- There will be always enough resources. Above all this is a theoretical assumption (hypothesis of a
transfinite resource pool). Based on this assumption it is possible to request an arbitrary number of
resources (like a few hundreds of multiplication units) in order to exploit the inherent parallelism up to
the utmost level. In practice however, each pool of resources is limited in size. Hence the programs are
to be adapted to the limits of a given pool of resources. This can be done during compile time or during
runtime (emulation, virtualization). Virtual resources can be provided similarly to pages in a
conventional virtual memory.
- With respect to an application problem, the universal computer is only a makeshift solution. The true
optimum solution would be a dedicated hardware whose machine cycles are spent exclusively to
compute the desired final results. In such a machine, neither clock cycles and memory bandwidth nor
power would be wasted for fetching instructions, loading and storing intermediate values, for function
calls and the like. We want to build true universal machines whose characteristics come as close to this
ideal as possible.
- The basic paradigm of a resource is a piece of hardware with input registers, combinational circuitry and
output registers (register-transfer model).
- The instructions (operators) describe only the basic processing steps, but not the concrete operations to
be performed (like addition or multiplication).
- Resources can be built recursively from more elementary resources.
- It does not matter where the resources are located and how they are implemented. It is even possible to
request resources via the internet (for example, special processors).
In order to implement a certain programming intention, appropriate resources will be selected out of the
resource pool. These resources will be fed with parameters. Then the processing operations will be
initiated. Results will be stored in memory or written to I/O devices; intermediate results will be
forwarded to other resources. Further steps of parameter passing, initiation and assignment will be
executed until the processing task has been completed. Resources which are no longer needed will be
returned to the resource pool. These processing steps are controlled by stored instructions. So-called
platform resources are provided to fetch the instructions from memory. Additional instructions are
provided to establish connections between resources (to concatenate resources) and to disconnect such
concatenations. Once a concatenation has been established, the steps of parameter passing, initiation of
operations and assignment of results will be performed automatically; there is no need to control each
single processing step by separate instructions.
The steps of parameter passing, operation initiation and so on can be applied to hardware as well as to
software. Program and hardware resources are invoked the same way. Each program or subroutine
corresponds to the model of a hardware with input and output registers (register-transfer model).
If these principles are applied to the last extreme, machine program generation will be transformed into
hardware design. Starting with the source code, a special hardware will be designed which is able to
execute the application problem in question. This virtual hardware can be created, modified and
dismantled during runtime. If a resource is not available as a true hardware unit, its operation can be
performed by means of other resources by applying the very method (recursion) or by conventional
programs (emulation).
A rough estimate:
On an integrated circuit
with 200 million transistors, it would be possible
to arrange four superscalar processor
cores, each having approximately 50 million
transistors. The operation units of such a processor
correspond roughly to eight 64-bit arithmetic/logic
units (the differences between integer and floating
point units being neglected here). These
4 cores • 8 operation units correspond to 32
resources. The instruction fetch and execution
control hardware is to be replaced by ReAl platform
circuitry. Cache memories, control circuits,
and bus systems are maintained (same size, but
modified structure). Some more resources could
be located on the silicon area otherwise occupied
by additional circuitry (pipelining, detection
of hazards and so on). Therefore, one
can reasonably expect a processor IC containing
approx. 48 to 64 high-performance processing
resources.
Our goal may be illustrated
by a ReAl game console processor which can be
morphed on the fly into a graphics engine, an
AI engine, a physics engine and so on,
depending on the requirements of the game being
played.
The ReAl architectural principles can be used for various other purposes, too. Examples may be a
machine-independent intermediate language (similar to the well-known Java bytecode (Table 1)) or a
compiling method to detect inherent parallelism.
| Java, JVM |
ReAl |
- Code compactness (bytecode)
- Developed for small programs
(applets)
- Executable on thin machines
- Programs to be downloaded via
internet
- JVM is a conventional stack
machine, hence its operations are
inherently sequential
- JVM bytecode describes one
operation at on time, hence inherent
parallelism is to be detected during
runtime
|
- To make best possible use of hardware
- Developed for large and computing-intensive programs
(graphics, equation solving, simulation, data bases, neural
networks, AI)
- There will always be enough hardware. Memory capacity
and code size are irrelevant
- Executable on machines which can be built with future IC
technology (dozens or even hundreds of operation units on
one integrated circuit)
- ReAl code describes completely the inherent parallelism of
program operation
- Creation of virtual special processors which correspond to
the dataflow graph of the application problem
- Inherent parallelism will be detected not during runtime but
in statu nascendi (i.e., by examination of the programming
intentions)
- A sufficiently standardized ReAl instruction set is a unified
machine language, which can describe hardware as well as
software
|
Table
1 Java Virtual Machine (JVM) vs. ReAl. (Note: As the goal is not code compactness but to describe
precisely the inherent parallelism and essential intricacies of program operation, ReAl may be better
compared to Postscript than to Java.) |
|
|
|
September 15 , 2025
Resource Algebra Vol 2 (in German)

Resource Algebra Vol 1 (in German)

Microprogramming (in German)

Minimal Machines (in German)

Article in Circuit Cellar, December 2016:
Resource Algebra and the Future of FPGA Technology
For viewlng and downloading (PDFs):
Introduction (25 Pages)
IDAACS
2007 Presentation (PDF)
Two
Research Reports
Resources instead
of Cores? – Article in ACM Sigarch
Computer Architecture
News, Volume 38, Number 2, May 2010,
pages 49 – 63.
Excerpt:
Section 4 – A
metrics of efficiency (PDF)
A detailed preliminary description (PDFs):
1. Introduction
2. The ReAl Computational Model
3. Platform Architecture
4. ReAl Machines
5. ReAl Systems on Silicon
6. Resource Management
7. Byte Codes
8. Machine Codes
In German:
An
overview (Ueberblick)
A
preliminary description (Vorlaeufige Kurzbeschreibung) (120 Pages)
Patent Applications:
- DE 10 2005 021 749.4 "Verfahren und Vorrichtung zur programmgesteuerten
Informationsverarbeitung",
- US 11/430,824 "Method for Information Processing".
|